
Apple, Güneş Enerjili MacBook Patenti Aldı
Apple, ilginç ve yenilikçi patent başvurularına bir yenisini daha ekledi. Şirketin son hak kazandığı patent, güneş enerjisiyle çalışan çift ekranlı Macbook üzerine oldu.
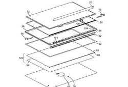
ABD Patent ve Marka Ofisi benzersiz bir dizüstü ekran teknolojisi için Apple`ın yaptığı başvuruyu kabul etti. Çift taraflı yeni ekran, bir güneş enerjisi paneli olduğu gibi dizüstü bilgisayarın ikinci monitörü olarak da kullanılabiliyor. Apple`ın hali hazırdaki Macbook serisinden oldukça farklı bir teknolojiye sahip ekran Windows tabanlı hibrit sistemleri çağrıştırıyor.
Özellikle Asus`un çift ekranlı Taichi modelini akla getiren yeni teknolojide en ilginç detay güneş enerjisini kullanabilmesi. Apple Insider sitesinin tahminlerine göre ekranın ön yüzeyi bilinen bir dizüstü ekranından çok büyük farklılık içermiyor.
Buna rağmen arka kısmında güneş enerjisi için fotovoltaik hücreler, ikinci ekran ve dokunmatik sensörler gibi detaylar bulunması bekleniyor. Çift taraflı ekranda metal, seramik, fiber kompozit ve cam gibi birçok farklı malzemenin kullanılabileceği de tahminler arasında.
Apple Insider tarafından Apple`ın iPhone 4 ve 4S modellerinde çift taraflı cam uygulamasını başarıyla gerçekleştirdiğine dikkat çekilse de, bu farklı teknolojinin pazara hazır olmaktan uzak olduğu yönünde fikirler de var.
Özellikle, çift ekranlı dizüstülerin ergonomik tasarım sorunları ve pil kullanımını yükseltmesi nedeniyle birincil bilgisayar konumunda olmadıkları dile getiriliyor. Güneş enerjisi teknolojisinin arzulanan yüksek pil ömrünü sağlamanın uzağında olduğu da iddialar arasında. Apple`ın yakın bir gelecekte yeni teknolojiyi kullanan bir ürünü piyasaya sürüp sürmeyeceği ise henüz bilinmiyor. (Yazan: Azim Köse)
http://shift.net
29 Ocak 2014